如何装订厚的资料(图) 【明慧网】

如何装订厚的资料(图)
EMail 转发 打印 安装苹果智能手机明慧APP 安装安卓智能手机明慧APP
【明慧网2006年5月8日】对于较厚的资料,如书籍,如果骑马钉不能钉穿,则可以直接用线缝。做法如下:

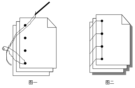
1. 将书按页码放好,买一把手枪钻(约几十元至百元,五金店都可买到),用2毫米左右的钻头在右边打4个孔(或更多的孔),(见图一)
2. 选用结实的蜡线或棉线在纸上缝过去,第一针穿在线头里,以便固定。(见图二)按照孔的位置一针针缝过去,注意从书脊上绕一下。(见图二)
3. 然后在外面用胶水或双面胶贴上封面即可。

(c) 1999-2025 明慧网版权所有




Advertisement

Advertisement

Advertisement

Advertisement

Advertisement

Advertisement

Advertisement

Advertisement

Advertisement